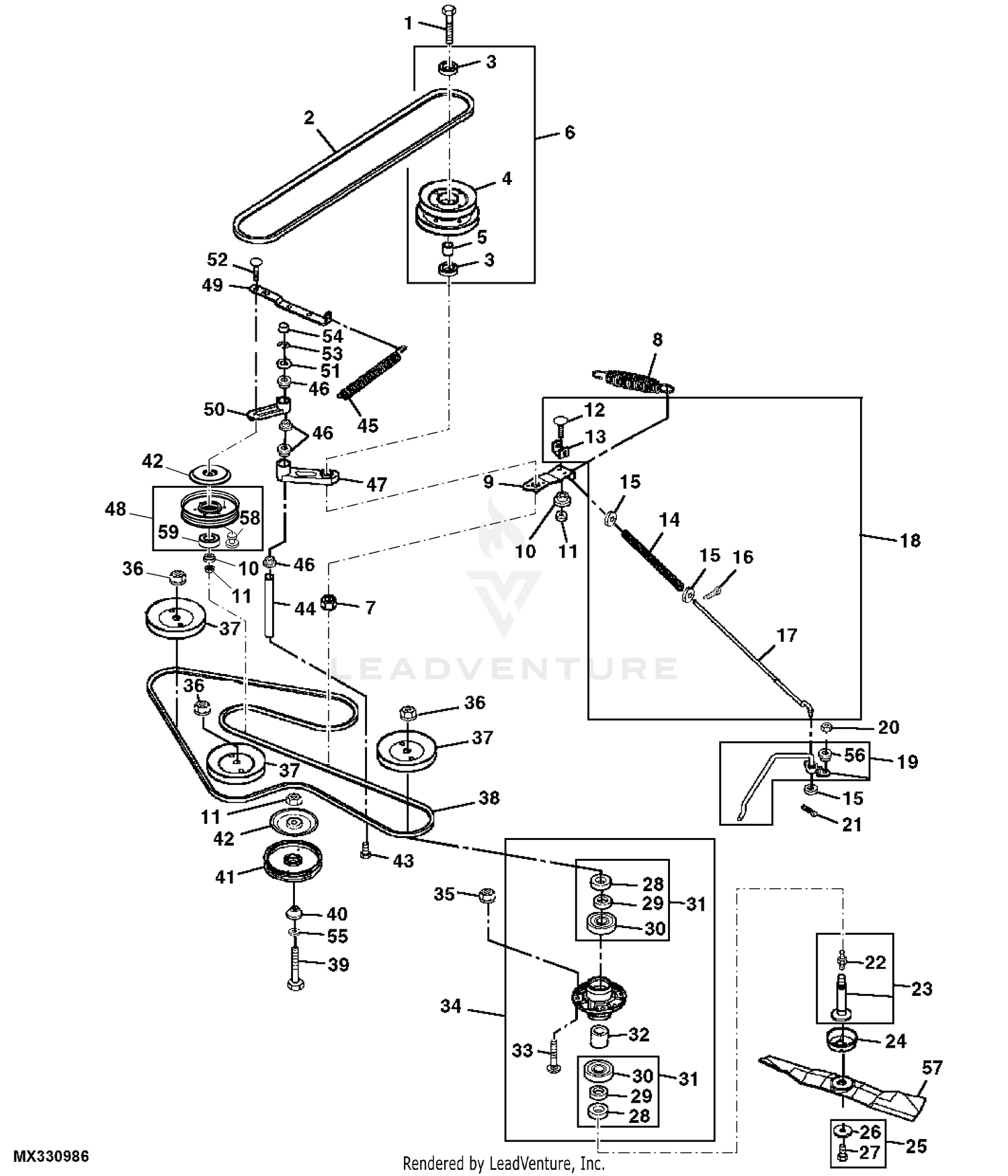
John Deere Convertible Mower 48 Inch LX255 LX266 LX277 LX277 W AWS LX279 LX288 GT225 GT235 LT170 Mower Drive Belt Sheaves Spindles and Blades 2 View larger
  • John deere lx255 deck belt top
  • John deere 42c deck belt routing YouTube
  • John deere lx255 deck belt top
  • 48 Deck Belt for John Deere LX277 LX279 LX255 LX266 48 Deck Deck Belt
  • OEM Spec Deck Belt Fit John Deere 325 335 345 LX255 GT242 GT262 w 48 52 USA eBay

John deere lx255 deck belt top

John deere lx255 deck belt top, John Deere Convertible Mower 48 Inch LX255 LX266 LX277 LX277 W AWS LX279 LX288 GT225 GT235 LT170 Mower Drive Belt Sheaves Spindles and Blades 2 top

$92.00

SAVE 50% OFF

$46.00

- +

Add to wishlist


Frasers Plus

$0 today, followed by 3 monthly payments of $15.33, interest free. Read More


John deere lx255 deck belt top

John Deere Convertible Mower 48 Inch LX255 LX266 LX277 LX277 W AWS LX279 LX288 GT225 GT235 LT170 Mower Drive Belt Sheaves Spindles and Blades 2

Deck Belt for John Deere LX255 LX277 LX279 LX288 LX277AWS LX280 LX289 GT242 GT262 GT275 M118684

John deere 42c deck belt routing YouTube

John Deere Mower Decks MCS LX255 LX266 LX277 LX279 LX288 GT225 GT235 GT235E GT245 LT170 PC2725 Sheave Blade Belt Spindle 54C inch Mower Deck 54C inch LX288 GT235

48 Deck Belt for John Deere LX277 LX279 LX255 LX266 48 Deck Deck Belt

OEM Spec Deck Belt Fit John Deere 325 335 345 LX255 GT242 GT262 w 48 52 USA eBay

Description

Product Name: John deere lx255 deck belt top
48 Deck Belt for John Deere LX277 LX279 LX255 LX266 48 Deck Deck Belt top, OEM Spec Deck Belt Fit John Deere 325 335 345 LX255 GT242 GT262 w 48 52 USA eBay top, John Deere LX255 Lawn Tractor With 42 IN C Mower Deck PC2717 BELT DRIVE IDLERS POWER TRAIN MM13644 top, Deck Belt For John Deere Sabre Scotts M154958 M110313 top, Drive Belt Fits John Deere M47765 LX255 LX277 LX279 LX288 with 38 deck 1 2 84 top, QIJIAPRO Lawn Mower Deck Belt Tractor Power Train Belt Compatible with John Deere M140502 M144570 LX255 LX266 LX277 LX279 LX288 GT225 GT235 GT245 top, John Deere Convertible Mower 42C inch LX255 LX266 LX277 W O AWS LX279 GT225 GT235 LT170 Sheave Blade Belt and Spindle 42C inch top, John Deere LX255 with 38 Deck M82462 Secondary Deck Belt SGL Bearings Ltd top, John Deere LX255 with 48 Deck M154958 Secondary Deck Belt SGL Bearings Ltd top, Deck Belt for John Deere LX255 LX277 LX279 LX288 LX277AWS LX280 LX289 GT242 GT262 GT275 M118684 M143019 M144677 top, Cogged Deck Belt 1 2 x 63.39 for Lawn Mower John D M118684 M143019 M144677 LX255 LX277 LX279 LX288 LX277AWS LX280 LX289 GT242 GT262 GT275 top, Deck Belt for John Deere LX255 LX266 LX277 LX279 LX288 GT225 GT235 GT245 M140502 top, John Deere LX255 with 44 M Deck M115776 Secondary Deck Belt SGL Bearings Ltd top, 265 242 Deck Belt for John Deere LX255 LX277 LX279 LX288 42C 48 52 top, Lawn Mower Traction Drive Belt 1 2 x84 for John Deere M47765 LX255 LX277 LX279 and LX288 with 38 Deck Amazon Patio Lawn Garden top, John Deere LX255 Riding Mower 1 2 x 74 Secondary Deck 42C Secondary belt 42C Deck top, Amazon John Deere Original Equipment V Belt M146667 top, M140502 John Deere LX255 42M Deck Primary Aftermarket belt top, Deck Belt M43820 Fits John Deere LX255 LX266 LX277 LX279 LX280 LX288 42 eBay top, 265 317 OEM Spec Drive Belt for John Deere LX255 LX266 LX277 LX279 Complete Tractor top, 723KB 2001 null null null null 3 null 3 2003 null syAj2GM1KaDbbM top, John Deere LX255 all finished after sitting for 5 years top, How to Install Deck Belt on John Deere Mower top, Rotary 12078 replaces John Deere M143019 Primary Deck Belt 48 54 Cut Master Landscape Supply top, John Deere LX255 Riding Mower Belt Drive Deck 48 Secondary top, YPS M140502 Deck Belt Compatible with John Deere LX255 LX266 LX277 LX279 LX288 GT225 GT235 GT245 Other Models top, Replacement DUNLOP John Deere M118685 Deck Belt LX255 LX266 LX288 GT225 GT235 GT245 GX325 54 34 Deck top, How to Remove the Mower Deck on a John Deere LX277 YouTube top, John Deere LX255 with 42 M Deck M150717 Synchronous Deck Belt SGL Bearings Ltd top, 265 317 OEM Spec Drive Belt for John Deere LX255 LX266 LX277 LX279 Complete Tractor top, John Deere decks by crigby top, John Deere Convertible Mower 48 Inch LX255 LX266 LX277 LX277 W AWS LX279 LX288 GT225 GT235 LT170 Mower Drive Belt Sheaves Spindles and Blades 2 top, Deck Belt for John Deere LX255 LX277 LX279 LX288 LX277AWS LX280 LX289 GT242 GT262 GT275 M118684 top, John deere 42c deck belt routing YouTube top, John Deere Mower Decks MCS LX255 LX266 LX277 LX279 LX288 GT225 GT235 GT235E GT245 LT170 PC2725 Sheave Blade Belt Spindle 54C inch Mower Deck 54C inch LX288 GT235 top.

John deere lx255 deck belt top